恒张力补偿装置
的有关信息介绍如下:
《恒张力补偿装置》是吴利群和帖荣俊于2005年3月28日申请的专利,该专利的申请号为2005100385912,公布号为CN1663839,授权公布日为2005年9月7日,发明人是吴利群、帖荣俊,该发明属于电气化铁道供电技术领域。
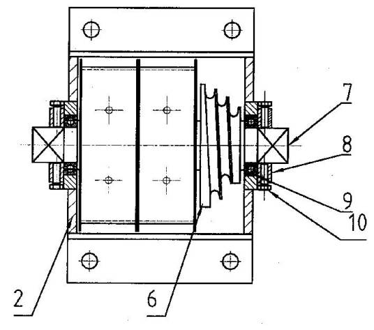
《恒张力补偿装置》涉及一种补偿并保持电气化铁道接触网承力索/接触线张力恒定的装置,属于电气化铁道供电技术领域。该恒张力补偿装置包括安装于座体的弹簧,所述弹簧为恒扭矩或线性变扭矩平面涡卷弹簧,其一端与座体相对固定,另一端与主轴相对固定,所述主轴支撑在座体上,主轴上固连有定滑槽轮、螺旋槽轮或渐开线槽轮,所述槽轮上缠绕有接外部承力索或接触线的钢丝绳。当承力索和接触线因环境温度变化导致长度变化时,平面涡卷弹簧与槽轮的搭配组合可以通过弹簧张力的补偿调节作用,使承力索和接触线上保持基本恒定的张力,从而满足电气化铁路工程的需要。其优点是结构紧凑、体积小巧、重量较轻、安装调整方便,因此容易得到切实的推广应用。
2009年,《恒张力补偿装置》获得第六届江苏省专利项目奖优秀奖。
(概述图为《恒张力补偿装置》摘要附图 )
想要了解更多“恒张力补偿装置”的信息,请点击:恒张力补偿装置百科



